BRIN Logo
Sign In
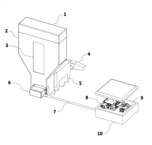
Main Product Image

AquaFeed Smart Dispenser

Agenda Riset: Kedaulatan Pangan
Sektor: Pangan

Deskripsi

Invensi ini mengungkap mengenai suatu alat pemberi pakan ikan yang dilengkapi dengan roda gigi pengatur keluarnya pakan ikan yang termodifikasi. Invensi ini terdiri dari: tutup wadah pakan, wadah pakan, kaca pantau, gagang penjepit, penahan wadah, motor servo, kabel daya dan sinyal, mikrokontroler, modul RTC, kotak komponen, poros motor servo, lengan servo, roda gigi, dan tempat keluaran pakan. pada roda gigi di invensi ini dicirikan dengan adanya beberapa sikat/brush dengan bahan dan posisi yang unik sehingga memperlancar keluarnya pakan ikan pada lubang keluaran pakan.

Kata Kunci

Aquatech Otomatis Presisi Smart

Dokumen Download

  • Menyalurkan pakan ikan lebih lancar dan merata tanpa macet sehingga pertumbuhan ikan lebih optimal
  • Menghemat pakan dan biaya operasional berkat pengaturan jumlah pakan yang presisi
  • Memudahkan pembudidaya dengan sistem otomatis yang bekerja konsisten sesuai jadwal
  • Mengurangi pekerjaan manual dan risiko kesalahan pemberian pakan
  • Mendukung budidaya ikan yang lebih efisien, modern, dan produktif