BRIN Logo
Sign In
Main Product Image

Kapal Sungai Pengangkut Timbulan Sampah

Agenda Riset: Ketahanan Air dan Pengembangan Lingkungan Hidup Berkelanjutan
Sektor: Kemaritiman

Deskripsi

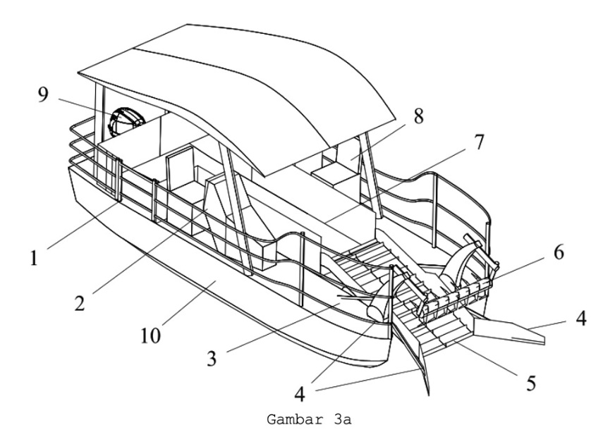
Invensi ini berhubungan dengan suatu kapal sungai, lebih khusus lagi suatu kapal sungai pengangkut timbulan sampah yang memiliki lambung kapal katamaran (double hull) berbahan lambung HDPE dan suatu konveyor sebagai penarik timbulan sampah di sungai yang disimpan dalam suatu bak sampah di bagian tengah belakang kapal dengan kapasitas 800 kg sekali angkut, dengan kecepatan kapal 10 knots sehingga kapal dapat beroperasi dengan cepat dan dapat digunakan untuk mengambil ulang timbulan sampah di sungai, berulang kali dalam satu hari. Kapal sungai pengangkut timbulan sampah pada invensi ini terdiri dari lambung kapal, atap kapal, mesin tempel, konveyor, yang dicirikan dengan lambung kapal tersusun atas dua lambung kapal berbahan high-density polyethylene; konveyor dipasang pada bagian depan lambung kapal sebagai pengangkut timbulan sampah, dimana konveyor terhubung dengan sistem hidrolis sebagai penggerak konveyor; bagian depan konveyor dilengkap alat pencacah yang dipasang melintang dari satu sisi konveyor hingga sisi lain dari konveyor; bak sampah yang terhubung dengan bagian belakang konveyor; dan jalur sampah keluar yang terhubung dengan bak sampah.

Kata Kunci

Kapal Sungai Kemaritiman Lingkungan Pengangkutan Sampah

Dokumen Download

  • Mengangkut timbulan sampah hingga 800 kg sekali operasi
  • Konveyor dan pencacah terintegrasi untuk proses cepat dan bersih
  • Beroperasi hingga 10 knots untuk efisiensi waktu
  • Desain double hull HDPE aman dan tahan lama
  • Solusi berkelanjutan untuk kebersihan sungai perkotaan